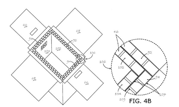
patented construction
Patents:
Both are utility patents, the novel innovation is the construction/joinery of how the box folds together.
Compressive strength gives the function of furniture. It is the strength that is used when they are stacked on top of each other or used to support a mattress.
Tensile strength gives the function of a moving box. It is the strength that allows for loads of heavy items placed inside to not break through the bottom when lifted and carried.
Guaranteed to support 500 pounds dispersed weight
